Description
Innovative Marine NUVO Roller PRO Automated Fleece AIO Filter
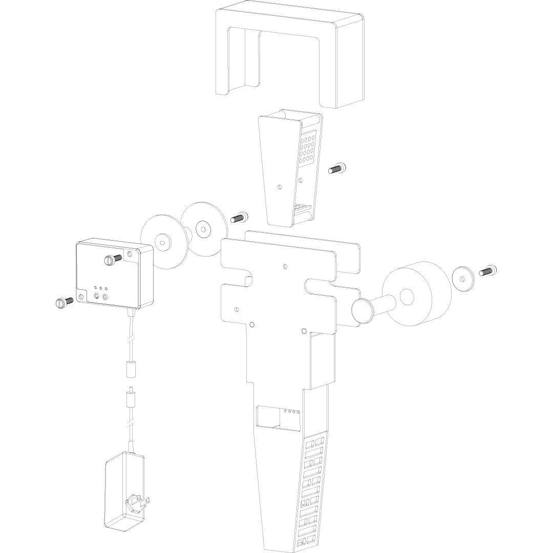
Nuvo Roller - Automatic Fleece AIO Filter
Keep your aquarium crystal clear without the hassle of cleaning or changing filter socks. Introducing the Innovative Marine Nuvo Roller. The first Innovative Marine automatic fleece AIO filter.
No more taking out a dripping filter sock, walking it over to the sink and spraying it out. All that waste from your aquarium splatters in and around your sink... now your aquarium is clean but your sink is just as dirty. That stops today.
Set it and forget it. With a tap of a button you have set your 200 micron filter media to be renewed every 12 hours, taking all the waste out of your tank.
Designed to fit a protein skimmer in the next compartment, and equipped with an automated motor that rotates every 12 hours for easy filter fleece replacement, and multiple water outlets at different levels to prevent overflowing. This filter roller was made to make your life... Automatic. Clean. Easy.
Automatic - Automatic - Drop In and Set. Fits in the first compartment of your Innovative Marine NUVO Fusion AIO Aquarium. Choose how much filter floss needs to be renewed every 12 hours by setting the roller to turn 8, 12, or 16 seconds to remove debris and waste out of the water and be replaced with new filter floss. No more filter sock cleaning or changing.
Clean - Instead of just one filter sock, you get an entire roll of 200 micron fleece filter material to keep your aquarium running crystal clear. The black body and top cover will keep your roller aesthetically blended into your system.
Easy - Made to fit a NUVO protein skimmer in the next compartment and designed with an inner pull out tray for easy roller replacement and simple push button automated settings.
*Note - This Nuvo Roller Pro fleece filter roller model is automated.
FEATURES:
- Fits all Innovative Marine NUVO Fusion AIO DESKTOP Aquariums
- Automated Operations:
- Hold down the M button to replenish fleece material until the desired amount of fleece has been renewed.
- Cycle through the A button to have the fleece material rotate 8 seconds (L), 12 seconds (M), or 16 seconds (H) every 12 hours.
- Filter Fleece Roll: 200 Micron
- Dimensions: 6.6" x 3.63" x 14.7"
- Made from quality cell cast acrylic
- Fits in the first filter chamber
- Designed to fit a NUVO Protein Skimmer in the next Compartment
- Side roller holders for easy roller replacement and inner tray removal
- Multiple outlets at different levels to prevent overflowing
- Acrylic cover to aesthetically hide the filter rolls from sight
- Product Weight: 1.61 lbs





